
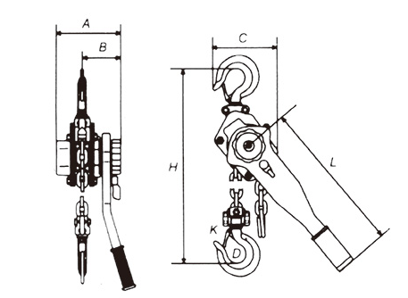
规格型号 | HSZ-0.75A | HSZ-1.5A | HSZ-3A | HSZ-6A | HSZ-9A | ||
额定载荷 | t | 0.75 | 1.5 | 3 | 6 | 9 | |
标准起升高度 | m | 1.5 | 1.5 | 1.5 | 1.5 | 1.5 | |
试验载荷 | KN | 11.0 | 22.5 | 37.5 | 75 | 112 | |
满载时的手扳力 | N | 140 | 220 | 320 | 340 | 360 | |
起重链条直径 | mm | 6 | 8 | 10 | 10 | 10 | |
起重链条行数 | 行 | 1 | 1 | 1 | 2 | 3 | |
A | mm | 145 | 175 | 203 | 203 | 203 | |
B | mm | 86 | 100 | 118 | 118 | 118 | |
C | mm | 122 | 130 | 150 | 205 | 316 | |
主要尺寸 | D | mm | 37 | 45 | 50 | 64 | 85 |
H | mm | 320 | 380 | 480 | 620 | 700 | |
L | mm | 280 | 410 | 410 | 410 | 410 | |
K | mm | 30 | 36 | 40 | 50 | 58 | |
净重 | kg | 7 | 11 | 18 | 30 | 36 | |
起重高度增加1m所增重量 | kg | 0.8 | 1.4 | 2.2 | 4.4 | 6.6 |
◆ 加强型手柄设计
◆ 80级起重链条
◆ 手扳力轻
◆ 传动件由合金钢制作
◆ 安全型锻打吊钩
◆ 零部件可通用
◆ 严禁超载使用